
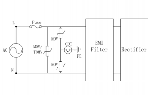
方案优势:
1、响应速度快,通常在几十ns。
2、MOV 是一种老化型元器件,与陶瓷气体放电管(GDT)串联使用后,减缓 MOV 的老化,大大延长 MOV 使用寿命。
3、 GDT的寄生电容很小,与MOV串联后可将串联支路的总电容减小到几个pF。
4、残压低,将过电压抑制在完全可接受的耐压范围之内。
创海新产品规格:
1.MOV1型号:14D561K
最大允许交/直流电压:350V/460V
通流量:4.5KA
压敏电压:560V(540-616)
最大钳位电压:925V
2.MOV2型号:20D471(KJ可选)
最大允许交/直流电压:300V/385V
通流量:6.5KA
压敏电压:470V(423-517)
最大钳位电压:775V
3.GDT型号:SGH81-252X
直流击穿电压:2000-3000V
最大脉冲放电电压(1KV/µs):3600V
标称放电电流(8/20µs,10次):5KA
耐冲击电流寿命:300次
电容C(1MHz):1.5pF
更多产品应用可以关注创海新电子官网http://www.chxfuse.com/
Copyright © 深圳市创海新电子有限公司 版权所有
粤ICP备455495499
全国服务电话:0755-85211081 传真:0755-85211081
公司地址:深圳市坪山新区坪山街道石井社区咸水湖路76号5楼